半導體激光器對從系統其他部分反射回的光能量是非常敏感的。反射光增加了發射光束中的噪聲,降低了系統的性能。返回的光子到達激光器諧振腔內部時,可能被放大,而且通常還會影響激光器的工作。它們與已存在于腔體中的光子競爭激發原子態。由于返回光子與激光諧振腔中的現存光子不大可能同相位,因此會迫使半導體激光器重新開始振蕩。新的振蕩與返回的光子同相位,結果導致半導體激光器會輸出相位隨機波動的發射光,從而增加了系統的噪聲。
發射機附近的反射是主要的影響因素。光纖和連接器以及通道上的其他元件可以削弱遠處產生的反射,因此這種從遠處來的反射光在到達半導體激光器時已經衰減得很弱。所以,這里提到的大多數預防措施僅應用于設置在系統中距離發射機位置很近的情況下。在實用系統中,有許多方法可以將反射減到最小。系統中諸如光纖或透鏡等元器件,如果在其頭端涂敷消反射涂層可以減小任何反射的振幅。光纖頭可以是圓的,結果反射光線不能傳回發射機,反射光線轉換成光纖中無法傳播的模式:特殊設計連接器和耦合器,從而使反射光減到最小。回波損耗是控制反射有效性的度量。
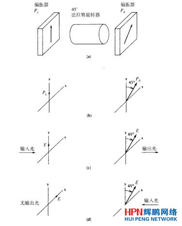
隔離器可以確保返回到半導體激光器的光功率很小。光隔離器實際上是一個光的單向傳輸線。即僅允許光沿著光纖的一個方向傳輸。這類器件的基本結構如圖1(a)所示,由兩個線偏振器和一個45°的法拉第旋轉器組成。如圖1(c)所示,從左端來的入射光束由起偏振器R調整為垂直偏振。此垂直偏振波通過法拉第旋轉器,通常,法拉第旋轉器使入射光束的偏振方向發生旋轉,旋轉量由器件的特性確定。為了構成隔離器,旋轉角必須是45°。因此,旋轉器輸出光的偏振平面偏離垂直方向45°。右端的檢偏振器一的偏振方向調整在45°,允許沿45°方向偏振的光通過。光從左至右的傳輸就是以這種方式進行的。
現在考慮圖1(d)中光束從右到左的傳輸情況。當光束進入隔離器后,PR使光束沿45°方向偏振。而法拉第旋轉器則使光束再旋轉45°,因此如圖中所示,從旋轉器的左端輸出時已是水平偏振光束。偏振器PL將阻止水平偏振光束通過。于是,我們可以斷定在隔離器中沒有光自右向左傳輸。必須強調的是,法拉第旋轉是非互易的。

圖1: 法拉第旋轉型光隔離器。(a)構成元件;(b)允許的偏振狀態;
(c)左到右傳播的電場取向;(d)右到左傳播的電場取向
具有高法拉第效應的透明材料是釔鐵石榴石,通常稱之為YIG。外加磁場沿單晶體中光波傳輸方向時,會產生法拉第旋轉現象。我們已經強調過,在光纖鏈路中對隔離器的最主要的要求是保護半導體激光器免受反射光的影響?具有這種功能的隔離器與光源耦合系統的連接結構如圖2所示。YIG球的作用猶如一個透鏡,將來自光源的光聚焦到光纖上,并提供所需的法拉第旋轉。這種結構不需要第一個偏振器,因為半導體激光器的輸出光束已經是偏振光。返回到激光器的反射光以90°方向偏振,將不會與發射光束發生耦合、所需要的磁場由永久磁鐵來提供。

一個理想的隔離器在前(或允許的)向傳輸時無損耗,而在反(或禁止的)向傳輸時損耗為無窮大。實際上,由于在元件接口的反射,以及偏振器和旋轉器的缺陷,隔離器的性能不町能是理想的。典型的插入損耗約為1 dB,而隔離度約為30 dB。
常用光纜快速導航: 4芯光纜價格 、6芯光纜價格 、8芯光纜價格 、12芯光纜價格 、18芯光纜價格 、24芯光纜價格 、32芯光纜價格 、36芯光纜價格 、48芯光纜價格 、72芯光纜價格

